¶à±¦µç¾º

ÌïÉ­»ãÔ¶³ÌÔ¤¸¶·ÑϵͳµÄÑо¿ÓëÓ¦ÓÃ

»ù±¾ÐÅÏ¢£º
ÏîÄ¿Ãû³Æ£ºÌïÉ­»ãÔ¶³ÌÔ¤¸¶·Ñϵͳ
ÏîÄ¿ËùÔÚ£ºÉ½Î÷
ʵÑéʱ¼ä£º
ÏîÄ¿¼ò½é£º
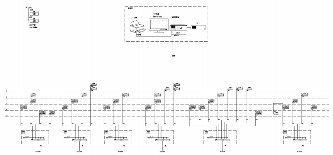
ɽÎ÷ÐÃÖÝÊÐÌïÉ­»ãÔÆºÓÉÌÔ·ÏîĿλÓÚɽÎ÷ÐÃÖÝÊУ¬£¬£¬£¬£¬ÏÖ³¡ÎªÒ»¶°6²ãÂ¥µÄÉÌÒµÖÐÐÄ£¬£¬£¬£¬£¬¸÷²ãÇ¿µç¾®ÄÚÅäµç¹ñ¼°3¼äÅäµçÊÒÄÚÒÑ×°ÖÃÎÒ˾ÖÕ¶ËÔ¤¸¶·ÑµçÄܼÆÁ¿±í¼ÆDDSY1352-NK¡¢DTSY1352-NK ¡£¡£ ¡£¡£ ¡£
±¾ÏîĿΪÌïÉ­»ãÔÆºÓÉÌÔ·ÏîÄ¿Ìṩ½â¾ö¼Æ»® ¡£¡£ ¡£¡£ ¡£±¾ÏîÄ¿¹²ÓÐ58Ö»µ¥ÏàÔ¤¸¶·ÑµçÄܱíDDSY1352-NK£¬£¬£¬£¬£¬276Ö»ÈýÏàÔ¤¸¶·ÑµçÄܱíDTSY1352-NK£¬£¬£¬£¬£¬Õë¶Ô±¾¶°6²ãµÄÉÌÒµÖÐÐÄ£¬£¬£¬£¬£¬ÎªÊµÏÖÓõçµÄÖÇÄÜ»¯¹ÜÀí£¬£¬£¬£¬£¬Í¨¹ý¶à±¦µç¾ºÖÕ¶ËÔ¤¸¶·ÑµçÄܼÆÁ¿±í¼ÆÀ´ÊµÏÖ¼ÆÁ¿Ã¿¸ö×â»§µÄÓõçÁ¿£¬£¬£¬£¬£¬ÒÔ°ü¹ÜÏÈÊշѺóÓÃµç ¡£¡£ ¡£¡£ ¡£
ϵͳʵÏֵĹ¦Ð§£º

a. ¿ìËÙÉèÖ㬣¬£¬£¬£¬¼´×°¼´Ó㺽«µç±íºÍͨѶ¹ÜÀí»úÉèÖõ¼Èëϵͳ¾Í¿ÉÒÔʹÓ㻣»£»£»£»£»
b. Ô¶³Ì¼¯Öг­±í£ºÃâÈ¥È˹¤³­±í£¬£¬£¬£¬£¬µç±í״̬ʵʱÐÔ¿É׼ȷµ½3·ÖÖÓÒÔÄÚ£»£»£»£»£»£»
c. Ö§³Öµ¥¶À¼Æ¼Û¡¢¶à·ÑÂÊ¡¢õè¾¶µç¼Û£º¿É¶Ôÿ¿éµç±íµ¥¶ÀÉèÖõç¼Û¡¢·ÑÂʺÍõè¾¶µç¼Û£»£»£»£»£»£»
d. Ô¶³ÌÊ۵磺²ÆÎñ¼¯ÖйÜÀí£¬£¬£¬£¬£¬µçÁ¿ÊµÊ±Ï·¢£¬£¬£¬£¬£¬²¢±È¶Ô³äÖµ´ÎÊý±ÜÃâ×÷±×£»£»£»£»£»£»
e. Êý¾ÝÇå¾²£ºÍøÂçÊý¾Ý´«Êä½ÓÄɽðÈÚ¼¶µÄ3DES¼ÓÃÜËã·¨£¬£¬£¬£¬£¬±ÜÃâÊý¾Ý×÷±×ÇԵ磻£»£»£»£»£»
f. Ô¶³Ì¿ØÖÆ£º¿É¶Ôí§ÒâÒ»¿éµç±íÖ´ÐÐÔ¶³ÌÀ­Õ¢»ò±£µçµÈһϵÁÐÔ¶³Ì¿ØÖƲÙ×÷£¬£¬£¬£¬£¬Àû±ã¹ÜÀí£»£»£»£»£»£»
g. ÄÜºÄÆÊÎö¼°ÅÌÎÊ£ºÓû§ºÍ¹ÜÀíÔ±¶¼¿ÉÅÌÎÊÔ¤¸¶·Ñ±í»òÖÖÖÖ½ÓÈëµÄ¼ÆÁ¿ÒDZíÌìÌìµÄÓÃÄÜ״̬£»£»£»£»£»£»

 

¿Í·þ1
¿Í·þ2
¿Í·þ3
¿Í·þ4
¡¾ÍøÕ¾µØÍ¼¡¿¡¾sitemap¡¿