¶à±¦µç¾º

BM200ϵÁиôÀëʽÇå¾²Õ¤

  • ²úÆ·¼ò½é
  • ÊÖÒÕ²ÎÊý
  • Ó¦ÓÃ×éÍøÍ¼
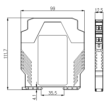
  • ÐÎ×´³ß´ç
  • ²úÆ·±¨¼Û
¹¦Ð§£º
BM200ϵÁиôÀëʽÇå¾²Õ¤½ÓÄÉÁËÏÞѹ¡¢ÏÞÁ÷¡¢¸ôÀëµÈ²½·¥£¬ £¬£¬£¬£¬²»µ«ÄܱÜÃâΣÏÕÄÜÁ¿´Ó±¾°²¶Ë×Ó½øÈëΣÏÕÏÖ³¡£¡£¡£¡£¡£¡£¡£¬ £¬£¬£¬£¬Ìá¸ßϵͳµÄ±¾°²·À±¬ÐÔÄÜ£¬ £¬£¬£¬£¬²¢ÇÒÔöÌíÁËϵͳµÄ¿¹×ÌÈÅÄÜÁ¦£¬ £¬£¬£¬£¬Ìá¸ßÁËϵͳÔËÐеĿɿ¿ÐÔ¡£¡£¡£¡£¡£¡£¡£
 
Ó¦ÓùæÄ££º
Ó¦ÓÃÓÚʯÓÍ¡¢×ÔÈ»Æø¿ª²É¡¢Á¶ÓÍ¡¢»¯¹¤¡¢È¼ÓÍÈ¼Æø³ä×°Õ¾¡¢ÖÆÒ©¡¢ÎÛË®´¦Öóͷ£µÈ³¡¾°¡£¡£¡£¡£¡£¡£¡£
 
¶©»õ¹æ·¶£º
ÏêϸÐͺţºBM200-DI/I-C12
ÊÖÒÕÒªÇó£ºÊäÈë1·DC 4-20mA£»£» £»£»£»£»£»Êä³ö2·DC 4-20mA£»£» £»£»£»£»£»×¼È·¼¶0.2¼¶¡£¡£¡£¡£¡£¡£¡£
ͨѶЭÒ飺ÎÞ
¸¨ÖúµçÔ´£ºDC24V
¿Í·þ1
¿Í·þ2
¿Í·þ3
¿Í·þ4
¡¾ÍøÕ¾µØÍ¼¡¿¡¾sitemap¡¿